一、产品简介
beat365正版唯一官网作为专业研发生产销售微型气象仪的企业,一直致力于微型气象仪和气象环境解决方案推广应用。具有完整的生产链、实力雄厚的技术团队和全面的营销团队,我们研发生产的五要素微气象仪、六要素微气象仪和小型自动气象站等气象产品,已广泛应用到气象监测、城市环境监测、风力发电、航海船舶、航空机场、桥梁隧道等领域,客户遍布全国各地,并取得了良好的社会效益和经济效益。
JD-WQX5B型五要素微气象仪创新性地将负氧离子、空气温度、湿度、PM2.5、PM10等气象要素通过一个高集成度结构来实现,可实现户外气象参数24小时连续在线监测,通过数字量通讯接口将五项参数一次性输出给用户。
二、产品特点
1、抗干扰能力强,具有看门狗电路,自动复位功能,保证系统稳定运行
2、高集成度,无移动部件,零磨损
3、免维护,无需现场校准
4、采用ASA工程塑料室外应用常年不变色
5、产品设计输出信号标配为RS485通讯接口(MODBUS协议);可选配232、USB、以太网接口,支持数据实时读取☆
6、可选配无线传输模块,最小传输间隔1分钟
7、探头为卡扣式设计,解决了运输、安装过程松动不准的问题☆
三、技术参数
1、空气温度:测量原理二极管结电压法,-40-60℃(±0.3℃)分辨率0.01℃;
2、空气湿度:测量原理电容式,0-100%RH(±3%RH)分辨率0.1%RH;
3、PM2.5:测量原理光散射,0-1000ug/m3(±10%)分辨率1ug/m3
4、PM10:测量原理光散射,0-1000ug/m3(±10%)分辨率1ug/m3
5、负氧离子:测量原理圆筒式电极吸入式,0-10万个/m3(±10%)分辨率1个/m3
6、功率:2.3W
7、生产企业具有ISO质量管理体系、环境管理体系和职业健康管理体系认证☆
9、生产企业为3A级信用企业☆
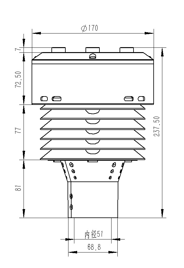
四、产品尺寸图

五、产品结构图

六、产品接线定义
定义 | 备注 | |
VCC | 电源正 | DC12V |
GND | 电源地 | |
485A | RS485A | |
RS485B |

鲁公网安备37079402370868